Bộ định lượng tinh dầu theo dược điển V hãng Gamalab - Đức
Tên sản phẩm: Bộ định lượng tinh dầu theo dược điển V hãng Gamalab - Đức
Model sản phẩm: TTD.01
Hãng: Đang cập nhật
Giá: Liên hệ
Thông tin sản phẩm
Thông tin sản phẩm
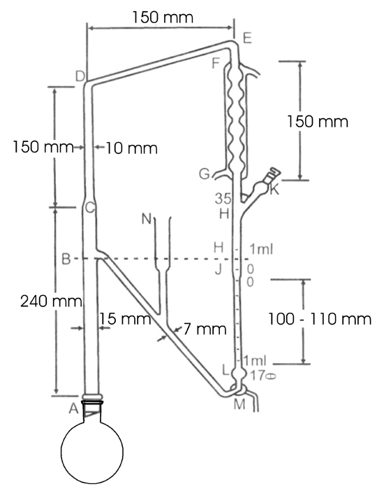
Bộ định lượng tinh dầu theo dược điển V
Xuất xứ: Đức
Thông tin chung:
Tách tinh dầu ra khỏi dược liệu bằng phương pháp cất kéo hơi nước.
Từ lượng tinh dầu thu được so với khối lượng dược liệu tính được hàm lượng tinh dầu trong dược liệu.
Có nhiều bộ dụng cụ khác nhau để định lượng tinh dầu, dưới đây là sơ đồ bộ dụng cụ định lượng tinh dầu theo dược điển Việt Nam V:










